NeuroTIC 0.0
Loading...
Searching...
No Matches
NTCore/net_s.dox File Reference

Root container of a NeuroTIC network instance. More...

Detailed Description

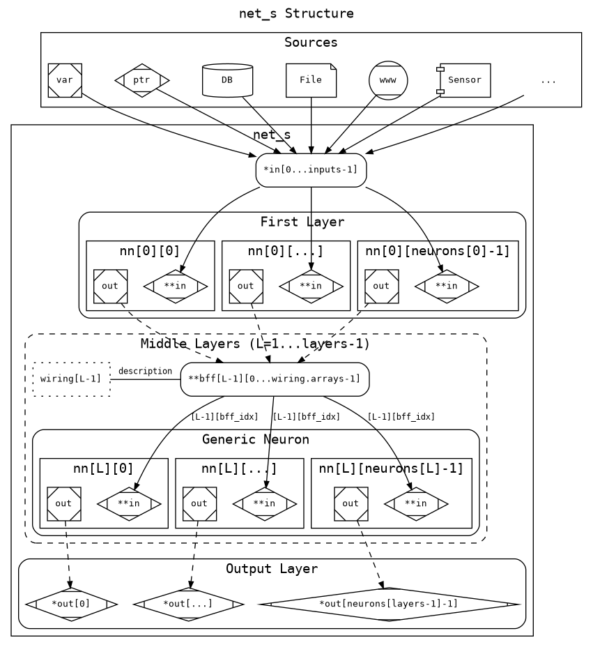
Root container of a NeuroTIC network instance.

Author
Oscar Sotomayor (Titux)

net_s aggregates all structural components required to represent the complete static topology and memory graph of a network instance. It owns its internal structures, while external inputs are referenced via pointers.

dot_inline_dotgraph_1.png

Concept

net_s is a passive structural container that holds:

  • Layer organization and neuron counts.
  • External input references.
  • Layered neuron arrays.
  • Wiring descriptors defining inter-layer connectivity.
  • Buffer sets for intermediate values.
  • Output references.

No execution logic is embedded; the structure merely describes the static topology and memory layout.

Field Descriptions

  • inputs: Number of external inputs.
  • layers: Total number of layers.
  • neurons: Neuron count per layer.
  • in: External input references.
  • nn: Layered neuron arrays.
  • wiring: Wiring descriptors per layer.
  • bff: Buffer reference sets.
  • out: Output references.

Structural Relationships

The diagram above illustrates the pointer hierarchy. Key points:

  • External sources are referenced directly by in and indirectly via wiring/buffers.
  • Neurons in the first layer read from 'in'.
  • Neurons in subsequent layers read from buffers (bff) according to their bff_idx.
  • Wiring descriptors define how buffers are populated from source layers.
  • Outputs of the last layer are collected in out.

Construction Contract

External code is responsible for allocating and populating all fields according to the topology. The structure does not define allocation, ownership, or lifecycle semantics. It only stores references.

Definition in file net_s.dox.